行业知识

自力式调节阀相关知识分享

2024-01-26 10:29:17 od网页版入口_OD(中国)官方

自力式调节阀相关知识分享

氮封装置主要用于储罐顶部,来维持储罐的微正压,隔离物料与外界的接触,减少物料的挥发和浪费,保护储罐安全。氮封阀无需外加能源,利用被调介质自身能量为动力源。自动控制阀门介质流量,使阀后压力保持恒定的压力稳定装置。现已广泛用于连续送气的天然气采输,城市煤气以及冶金、石油、化工等工业生产部门。指挥器型自力式压力调节阀无需外加能源,利用被控介质自身能量作为动力源,引入调压阀的指挥器以控制阀芯位置来改变截流面积,从而达到改变调压阀介质流量,使阀后压力稳定。压力设定在指挥器上通过调节弹簧实现,因而方便、快捷、省力省时,可运行状态下连续设定,且结构简单,维护工作量小。减压比≤4000:1,控制精度高;动作灵敏,密封性好;

图片关键词

图片关键词

(1)当氮封阀关闭时,主阀的活塞是在一个密封室内,当储罐压力等于或大于设定的压力时,膜片就被向上顶起,气导阀在弹簧的作用下向上移动,把气导阀上的密封圈紧紧压在阀座上,关闭了控制气的进口,同时特殊阀芯室的压力增加并接近氮气总管的压力,此压力通过内部通道,从特殊阀芯室传到主阀阀芯室。主阀的活塞就处于氮气总管压力的作用,由于主阀阀芯上、下所受气体压力平衡,所以主阀阀芯在自重和弹簧的作用下将阀门紧密关死。

(2)氮封阀打开时,当储罐压力稍微低于设定压力时,膜片因为感应压力下降而向下移动,推动气导阀打开,氮气经过孔板、气导阀的出口进入储罐,使储罐内的压力增加,同时气导阀的特殊阀芯室的压力下降,氮气通过内部通道从特殊阀芯室进入主阀阀芯室。由于主阀阀芯的活塞面积大于主阀阀座孔面积,并有弹簧的弹力和主阀的重量,所以当储罐压力稍微低于设定点时,特殊阀芯室和主阀阀芯室的压力降低很小,主阀仍然保持关闭,氮气只从气导阀进入储罐。

图片关键词

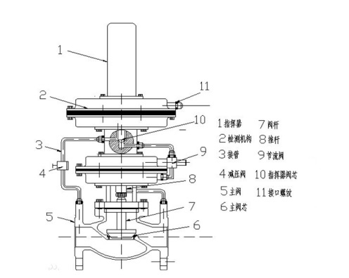
带指挥器的自力式调节阀

带指挥器自力式压力调节阀属于自力式阀门系列,利用介质自身的压力来控制阀门开关,采用先导阀结构设计,以阀后压力为动力源,引入阀后压力到指挥器膜片上以控制指挥器阀芯位置,改变流经指挥器阀芯的介质压力和流量,使阀门后端压力保持精确恒定。


该阀压力设定在指挥器上的弹簧上实现,拧紧压缩弹簧阀后压力变大,反之则变小,操作简单因而存在方便、便捷、比一般的直接取压自力式压力调节阀精度要高;一般用于储罐氮封系统;调节和稳定储罐的氮气压力,控制精度极其灵敏, 控制精度阀后能达到0.0001MPa (100pa)运行过程中压力可以连续调节,特别适合是控制微压场合的工况。


阀采用先导式结构,有两个薄膜执行机构(指挥器和主阀各一个)阀后压力 不直接控制主阀芯,而是指挥器执行机构控制阀门主阀的开和关阀前压力经过法兰通过5进入到减压阀4(主要起保持阀前压力稳定)在经过3进入指挥器阀芯10(指挥器阀芯是采用气关方式,阀后压力不在设定值时是开的状态)阀前介质通过指挥器阀芯10到达节流阀9,(主要起分流和平衡作用)进入主阀薄膜执行机构,(主阀薄膜执行机构采用气开设计)打开主阀芯7,阀后压力通过接管11同指挥器薄膜执行机构相连接,检测机构2接受到阀后压力和流量,带动指挥器执行机构向下关闭指挥器阀芯,阀后压力设定通过指挥器1内的调节弹簧恒定设定压力


微压指挥器型自力式压力调节阀

是一种无需外加驱动能源,依靠被调介质自身 的压力为动力源及其介质压力变化,按设定值,进行自动调节的节能型控制装置。他集检测、控制、执行诸多功能于一阀,自成一个独立的仪表控制系统。

图片关键词

介质由箭头方向流入指挥器和调压阀。阀前压力P1一路流入指挥器B室,做为能源使用,另一路进入指挥器C室做检测  信号。阀前压力P1作用在C室的力与设定弹簧的原作用力相平衡时的阀芯位置决定了调压阀主控信号Ps大小,从而实现压力泄 放。


若P1压力增加,达到泄放压力(即设定值)时,指挥器C室作用力增加,指挥器阀芯开启,Ps增加,使进入调压阀D室  主控信号增加,但Ps≥P弹+P2时,调压阀开启,阀前压力P1向调压阀阀后泄压。待P1降低至泄放压力以下,指挥器阀芯重新  关阀,调压阀停止泄压,导致调压阀关闭。该阀门的泄放压力通过指挥器调节螺钉设定。

图片关键词

微压指挥器型自力式阀后调节阀的工作原理:(阀后调压阀为常闭型)

介质由箭头方向流入调压阀经节流后流出。同时P1也进入指挥器B室做能源使用。阀后压力直接进入调压阀下膜室A。同时进入指挥器测量市C室。压力P2增加时,首先作用在调压阀A室,使调压阀阀芯上移,调压阀关闭,阀后压力减小(初调)。同时,进入指挥器  测量室C室压力也增加,使指挥器关闭,作为能源使用的压力P1经指挥器阀芯节流阻力增加,Ps减小,此压力进入调压阀D室,压力相应减小,调压阀进一步关小,阀后压力继续减小(精调)。故在指挥器型调压阀二次调压过程后,调压精度较通 常的调压阀高。

在阀后压力P2降低时,作用方向相反,通过调压阀初调及指挥器操纵调压阀开度后,使P2增加。

设定压力由指挥器调节螺杆调节指挥器压缩弹簧的弹力达到。该产品调压阀为常闭型。运行时,只要有压力P1,即可通  过常开型指挥器开启调压阀。 


安装注意事项

(1)安装前,检查整机零件是否缺损与松动,对管道应进行清洗,介质流向应与阀体上的箭头指向一致。

(2)为便于现场维护与操作,阀四周应留有适当空间与设置旁路手动阀,阀组安装方案。

(3)阀门应正立垂直安装在水平管道上,阀体与管道的法尘连接,要注意同轴度,并应安装在环境温度不超过-25~55℃的合使用。


首页
产品
新闻
联系